用户登录

|
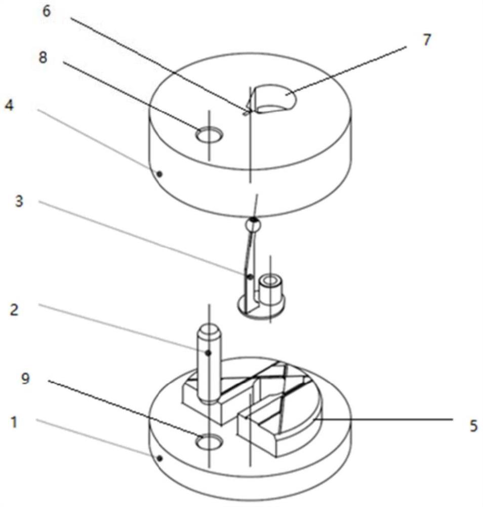
用于电液伺服阀薄壁式反馈杆炉内钎焊的定位夹具

本实用新型提供一种用于电液伺服阀薄壁式反馈杆炉内钎焊的定位夹具,用于对薄壁式反馈杆进行夹紧定位,其包括销座、半圆柱夹台、上盖和定位销,半圆柱夹台固定设置在销座上,且销座的上表面上设置有V形槽和平行槽用于固定反馈杆底座,第一销孔设置在半圆柱夹台的一侧;上盖上设置有第二销孔、观察孔以及内槽,第二销孔的一侧开设有限位槽,反馈杆的上端借助于限位槽进行固定;内槽设置在所述上盖的底部;定位销的下端和上端分别穿过第一销孔和第二销孔使销座和上盖固定连接。本实用新型不仅能精确保证焊接组件中各尺寸要素的位置精度,还能提高了产品质量和生产效率。

一种便于调节的石笼幕墙

本申请涉及一种便于调节的石笼幕墙,属于建筑施工领域,其包括石笼幕墙本体,石笼幕墙本体为长方体形;还包括支撑杆以及支撑加固装置,支撑杆在石笼幕墙本体底壁的棱边处安装有两根,支撑杆竖直滑动设置在支撑加固装置上,一个支撑杆对应一个支撑加固装置,支撑加固装置用于将调整好高度的支撑杆进行固定;在安装石笼幕墙本体时,调整两个支撑杆的位置使两个支撑杆之间形成一个水平面,再将石笼幕墙本体安装在两个支撑杆上,此时石笼幕墙本体不易发生倾斜,便于达到建筑施工验收标准。本申请具有便于调节安装石笼幕墙本体的效果。