用户登录

|
一种用于芯片焊接的真空封装炉腔的直线进给装置

本实用新型公开一种用于芯片焊接的真空封装炉腔的直线进给装置,包括支架、滑动安装座、驱动心轴、动密封装置和驱动机构,所述支架具有连接真空封装炉腔的第一连接板,所述第一连接板具有通过口;所述滑动安装座可滑动地连接在所述支架上;所述驱动心轴一端和所述滑动安装座连接,另一端向所述第一连接板一侧延伸;所述动密封装置密封连接在所述连接部和所述滑动安装座之间;所述驱动机构和所述滑动安装座驱动连接,以带动所述驱动心轴伸出所述通过口或由所述通过口缩回。通过外部直线运动带动真空腔体内部器件进行直线进给运动,结构简单,位置可控,并且整体结构在真空腔体外部,安装维修等比较方便。

一种用于湿法混合制粒机的搅拌桨升降装置

公开了一种用于湿法混合制粒机的搅拌桨升降装置,包括:搅拌桨支撑座、搅拌轴、搅拌桨、搅拌电机和搅拌轴轴承座。本发明的搅拌桨升降装置,通过在搅拌桨支撑座内设置搅拌轴轴承座、并借助搅拌轴轴承座在所述搅拌桨支撑座内的轴向滑动实现搅拌桨与物料锅锅底之间的间隙的调整,便于清洗物料锅,符合GMP的要求,有效得避免了物料之间的交叉污染。

一种用于芯片可靠性真空封装焊接设备的封装方法

本发明公开一种用于芯片可靠性真空封装焊接设备的封装方法,真空封装焊接设备包括真空腔和设置在所述真空腔内的管壳治具组件、锗窗治具组件和遮挡组件,管壳治具组件上设置有管壳,所述管壳上有焊料,锗窗治具组件上设置锗窗,锗窗上有吸气剂;所述焊接方法包括以下步骤:步骤S1,真空封装焊接设备对所述真空腔进行抽真空处理,并执行除湿过程;步骤S2,真空封装焊接设备执行激活吸气剂的过程;步骤S3,真空封装焊接设备执行焊接所述管壳和锗窗的过程。本申请增加了吸气剂热激活工艺,吸气剂能有效地吸着某些气体分子获得或维持真空以及纯化气体环境,锗窗和管壳焊接时通过激活的吸气剂来为此纯化密闭空间,提了升焊接成品的稳定性和可靠性。

一种托盘自动回传系统

本发明公开了一种托盘自动回传系统,包括安检机,还包括:皮带机,用于运送托盘,包括输入层和输出层,所述输入层设置在所述输出层上方;和托盘导向装置,与所述皮带机连接,用于将托盘从所述输入层传送至所述输出层,所述托盘导向装置包括壳体、入口、出口、接驳机构、降落机构和输出机构,所述接驳机构设置在所述入口处,所述降落机构设置在所述接驳机构正下方,所述输出机构设置在所述降落机构下方。本发明提供的托盘自动回传系统结构简洁、紧凑;托盘回传快、效率高;自动化程度高,可自动回传托盘,无需人工干预。

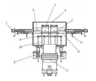
一种用于芯片可靠性封装焊接领域的真空焊接装置

本发明公开一种用于芯片可靠性封装焊接领域的真空焊接装置,包括真空焊接腔体和物料输送装置,真空焊接腔体具有空腔和连通空腔的物料通过口;物料输送装置向真空焊接腔体延伸,且物料输送装置的出料端延伸至物料通过口;物料输送装置用于将物料输送至空腔和/或将空腔内的物料输出。实现了真空焊接装置工作自动化流水式工作,不需要人工辅助,大量的节省了人力物力和时间。

模块化分体式制冷设备

本发明提出一种模块化分体式制冷设备,包括箱体和至少一个制冷机组;制冷机组包括支架,其上设制冷系统,包括依次连接的制冷压缩机、冷凝器、节流元件和蒸发器;制冷系统内充注制冷剂;支架上设由第一保温板构成的内箱,蒸发器设于内箱内;箱体箱壁上设第二保温板;箱体和内箱在二者的相对处分别设第一对接口,第一对接口处的第一保温板和第二保温板间设第一密封元件并通过第一紧固件固定在一起;箱体和制冷机组间通过航空插头实现电气连接;箱体具有箱门。本发明不需要焊接制冷管路和充注制冷剂;通过第一紧固件和第二紧固件进行机械组装、通过航空接头实现电气连接后即可开机使用;具有快速安装、性能可靠、节约成本等优势。

固定组件

本发明公开了一种固定组件,属于机械制造领域。包括固定架、弹簧以及支撑件;所述固定架可以在所述支撑件上的滑道内滑行;支撑件的滑道边缘设置有限位点,与固定架的限位挡板配合,保证所述支撑件与所述固定架之间不会相互滑脱;弹簧连接在所述支撑件与所述固定架之间,将所述支撑件与所述固定架推向相反方向;在固定架的背面设置有连接装置,将所述固定组件固定在待安装的盒体结构上。本发明由特定结构形成一个整体,不会出现各个构件相互滑脱的现象,因此安装操作时完全可以单手完成,极其方便,适合安装空间有限的仪器。同时,固定组件与待安装盒体边框对主机面板的夹紧力由弹簧提供,不会受人工操作的影响,不会对大型机器面板造成损伤。

一种快速锁紧装置及控制柜

本发明涉及电力器件柜装配技术领域,具体涉及一种快速锁紧装置及控制柜。包括底座、下端与所述底座上面连接的第一支撑体、下端与所述第一支撑体上端连接的第二支撑体,所述第一支撑体侧面设置有挡体,所述第二支撑体外侧面设置有螺纹,所述螺纹上套接有螺母,所述螺母下侧和第一支撑体上端之间设置有弹簧,所述弹簧还套设在第二支撑体外侧面,所述螺母能够沿所述螺纹运动并对弹簧进行挤压或释放进而产生形变。所述快速锁紧装置解决了与电力控制柜的设置解决了电气元件无法进行快速安装的技术问题,产生了提升安装效率的技术效果。