用户登录

|
基于城市智慧体育的并行融合网络的姿态识别方法和系统

本发明实施例提供的一种基于城市智慧体育的并行融合网络的姿态识别方法和装置,该方法采用全新的奥斯瓦德网络对输入的预处理图像进行特征提取,对从高到低不同分辨率的图像进行特征提取,在整个过程中都保持高分辨率和低分辨率特征相融合后进行预测。本发明进行了多次多尺度融合,使得每一个高分辨率到低分辨率的表征都从其他并行表示中反复接收信息,从而得到丰富的高分辨率表征。因此,预测的关键点更准确,在空间上也更精确。

一种用于旋转结构中的线缆连接装置

本发明公开了一种用于旋转结构中的线缆连接装置,包括一固定部件,通过轴与固定部件连接的旋转部件,所述的线缆连接装置包括一拖链,以及一导轨,拖链在导轨内滑动,导轨的外侧设置有容纳拖链进入的入口;拖链的两端分别与相对固定端和相对活动端连接,相对活动端设置在导轨内,相对活动端为中空可旋转结构,线缆穿出拖链后直接进入相对活动端的中心孔。本发明由于采用上述结构,根据需求,当旋转结构需要旋转2a角度(360°<2a<720°)时,拖链活动端旋转±α即可完成旋转结构所需总角度。

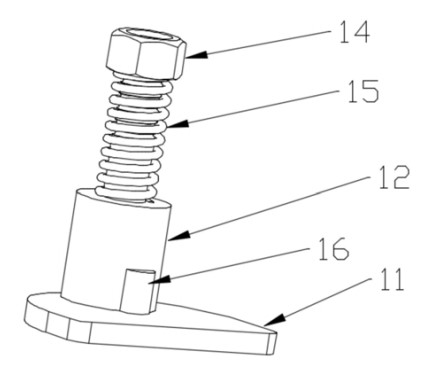
一种快速锁紧装置及控制柜

本发明涉及电力器件柜装配技术领域,具体涉及一种快速锁紧装置及控制柜。包括底座、下端与所述底座上面连接的第一支撑体、下端与所述第一支撑体上端连接的第二支撑体,所述第一支撑体侧面设置有挡体,所述第二支撑体外侧面设置有螺纹,所述螺纹上套接有螺母,所述螺母下侧和第一支撑体上端之间设置有弹簧,所述弹簧还套设在第二支撑体外侧面,所述螺母能够沿所述螺纹运动并对弹簧进行挤压或释放进而产生形变。所述快速锁紧装置解决了与电力控制柜的设置解决了电气元件无法进行快速安装的技术问题,产生了提升安装效率的技术效果。

一种角连接件、连接结构及配电柜

本发明提供了一种角连接件,所述角连接件包括:固定体和连接杆,所述固定体设置有多个第一连接面,所述连接杆一端与所述第一连接面相连接,另一端向远离所述第一连接面的方向延伸,所述连接杆用于与待连接物体相连接。角连接件使用连接杆与待连接物体相连接,避免使用焊接的方式,将所述角连接件拆卸,能够将整体框架的部件拆解移动,解决了由于焊接点容易被腐蚀导致的结构刚性问题。本发明还提供了一种连接结构,所述连接结构包括连接管和上述的角连接件,所述连接管设置有连接通道,所述连接杆能与所述连接通道相配合,可以插入所述连接通道中,使所述角连接件与连接管机械的相固定。本发明提供了一种配电柜,使配电柜中的电子器件便于承载。

电力设备智能巡检机器人

本发明提供电力设备智能巡检机器人,包括轨道总成、轨道机器人和上位机控制系统,所述轨道机器人滑动设置在所述轨道总成上,所述上位机控制系统包括本地控制单元、通信单元和人机交互单元,所述本地控制单元用于向所述轨道机器人下达各项操作指令,所述通信单元用于实现所述本地控制单元和所述人机交互单元之间的数据互通,所述人机交互单元用于实现所述轨道机器人的远端控制。本发明能够能够实现轨道机器人状态、装置信号等运行状况信息的实时采集与智能分析,还能监测温度、湿度等环境质量因素,满足电力设备的巡检作业。

多端口微网能量路由器

本发明提供多端口微网能量路由器,包括高压网侧变流器端口、低压交流负载端口、低压直流负载端口和交流配电网,低压交流负载端口和低压直流负载端口通过高压网侧变流器端口连接至直流母线,经由直流母线通过高压网侧变流器端口与交流配电网相连,高压网侧变流器用于实现直流母线电压的稳定控制,且当直流母线电压超过设定范围时切除整个路由器,以保护能量路由器和低压侧电气设备的安全,直流母线用于分布式电源及储能设备的接入,且通过直流母线电压的变化情况反映系统的功率流动和实时能置平衡。本发明能够实现不同交直流制式、不同电压等级间的互联和双向能量传递,为电气设备提供标准化接口,实现电能在系统内的双向传输。

一种智能交直流一体化电源系统

本发明提供了一种智能交直流一体化电源系统,包括双电源自动切换装置、交流屏、逆变电源屏、直流充电电源屏、通信电源屏和电池模块;所述双电源自动切换装置与交流屏连接,所述双电源自动切换装置用于两路输入的交流电源的自动切换,所述交流屏用于交流电力分配;所述交流屏分别与电池模块、逆变电源屏、直流充电电源屏、通信电源屏连接;所述逆变电源屏为交流站用设备供电,所述直流充电电源屏为直流站用设备供电,所述通信电源屏为通信设备供电;所述电池模块包括蓄电池组及双向逆变器,所述双向逆变器分别与交流屏、蓄电池组连接。实现直流操作电源系统、通信电源系统、交流操作电源系统一体化,节约设备资源。

一种节能式智能核对全在线直流充放电系统

本发明提供一种节能式智能核对全在线直流充放电系统,包括上位机终端、网关、综合监视器、充电设备一、充电设备二、充电设备三、子监视器、数据采集器、逆变电源一、逆变电源二以及逆变电源三,上位机终端通过网关与综合监视器相连接,综合监视器通过总线分别与充电设备一、充电设备二以及充电设备三相连接,子监视器通过RS485总线分别与数据采集器、逆变电源一、逆变电源二以及逆变电源三相连接,数据采集器、逆变电源一、逆变电源二以及逆变电源三进行并联,充电设备一、充电设备二、充电设备三以及子监视器进行并联,本发明使用方便,降低人力的投入,实现了节能环保,具备电压自动均衡能力,安全性高。