用户登录

|
测序结果中序列数据错误的检测和校正方法

本发明提供了一种测序结果中序列数据错误的检测和校正的方法。测序反应液中包含至少两种不同碱基的核苷酸底物分子;获得简并的基因编码信息。两个或者两个以上简并的编码信息相互对比,本领域技术人员可以判断该位置的编码是否出现相互矛盾的情况。应用本发明所述的方法进行校正,任何对于测序方法的可以降低原始测序数据错误率的微小改进,都可以明显的降低校正以后的编码数据的错误率。

固定组件

本发明公开了一种固定组件,属于机械制造领域。包括固定架、弹簧以及支撑件;所述固定架可以在所述支撑件上的滑道内滑行;支撑件的滑道边缘设置有限位点,与固定架的限位挡板配合,保证所述支撑件与所述固定架之间不会相互滑脱;弹簧连接在所述支撑件与所述固定架之间,将所述支撑件与所述固定架推向相反方向;在固定架的背面设置有连接装置,将所述固定组件固定在待安装的盒体结构上。本发明由特定结构形成一个整体,不会出现各个构件相互滑脱的现象,因此安装操作时完全可以单手完成,极其方便,适合安装空间有限的仪器。同时,固定组件与待安装盒体边框对主机面板的夹紧力由弹簧提供,不会受人工操作的影响,不会对大型机器面板造成损伤。

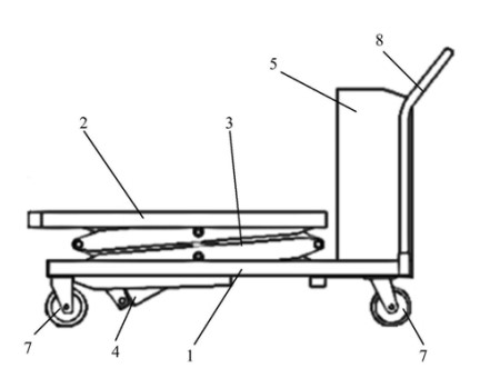
升降机

公开了一种升降机,所述升降机包括底座、平台、升降装置、液压系统和控制装置,所述升降装置的底部与底座连接,所述升降装置的顶部与平台连接;液压系统与升降装置连接,控制装置与液压系统电连接;升降机通过控制液压系统的制动力进而控制升降装置带动平台进行升降。本申请升降机结构简单、稳定性好,作业范围广。

分布式图像处理器

1.本外观设计产品的名称:分布式图像处理器。2.本外观设计产品的用途:用于图像处理的仪器。3.本外观设计产品的设计要点:在于形状。4.最能表明设计要点的图片或照片:立体图。

一种聚类算法中簇数量确定方法、系统、设 备及存储介质

发明实施例公开了一种聚类算法中簇数量确定方法、系统、设备及存储介质,本发明实施例根据数据的分布特点构建出判别指数算法,通过判别指数算法建立簇数量与判别指数的关系,取判别指数最小时对应的簇数量作为确定的簇数量,克服了传统聚类算法需要手工指定或者经验指定簇数量的随意性的问题,提升了聚类的效果;与已有的考虑数据分布轮廓系数方法和肘部法相比,确定簇数量过程中更加充分地考虑了数据集数据分布的特点,使聚类效果更好。