用户登录

|
温控花洒

本实用新型涉及一种可以自动调节水温,并在水温不符合要求时自动关闭花洒出水,将不符合温度要求温水通过回水口返回的温控花洒。本实用新型由混水阀和花洒、回水管以及连接混水阀和花洒的温水管组成,混水阀的阀芯(6)由微型电机根据在热水入口(1)和冷水入口(2)检测到的冷、热水温度驱动旋转,自动调节冷热水混合比例以恒定温度输出温水;花洒温水入口(5)内有出水温度传感器(10),若水温符合要求,通过控制花洒内的滑阀(8)移动连通温水入口(5)与花洒喷水口(11),温水由花洒喷水口(11)喷出;若水温不符合要求,通过控制花洒内的滑阀(8)移动连通温水入口(5)与回水口(7),温水由回水口(7)流出。

一种墙壁开关

一种墙壁开关,包括墙壁开关的面板和装在面板上的按钮,面板的正面或按钮上嵌有显示屏,面板的侧面设有通孔,通孔内固装有温湿度检测探头,面板的背面固装有控制电路板和电池,显示屏是触控屏,面板上固装有嗡鸣器,控制电路板将预调的时钟信息通或温湿度检测探头检测到的温湿度数值传递给显示屏上进行展示,使本实用新型的开关具有时间显示功能和室内温湿度显示功能,代替现有功能单一的墙壁开关;开关的按钮在弱光环境下目视明显。

一种多功能便携式智能烹饪设备

本实用新型公开了一种多功能便携式智能烹饪设备,所述多功能便携式智能烹饪设备包括壳体,所述壳体内由上到下依次设有煎烤盘、电热管和自动旋转烧烤机构,所述壳体上缘装有装配骨架,所述煎烤盘和涮煮锅具装配于装配骨架上,所述涮煮锅具设于煎烤盘一侧,所述涮煮锅具位于所述电热管上,所述电热管一端连接供电模块,所述自动旋转烧烤机构包括电机支架、步进电机和烧烤架,所述烧烤架上安装有多根半圆形中空石英管,所述石英管底部管口连通集油杯,所述集油杯设置于所述壳体外部底端,所述集油杯下方连有可拆卸支撑机构,所述壳体上部盖设有盖体,所述壳体底壁嵌设有金属支撑环。本实用新型集煎、涮、烤为一体,烹饪功能多样,绿色、清洁、易于携带,应用场景广泛。

智能电池内阻测量表

一种智能电池内阻测量表,它由测量表笔P、测量表笔Q、电流传感器模块、数字电位器、补偿电阻R、单片机、显示模块、电源、集成稳压器组成,该表可以快速、准确地测量电池的内阻,其结构简单、稳定性好,具有较强的实用性。

一种作物种植精密喷水装置

本实用新型涉及一种喷水装置,尤其涉及一种作物种植精密喷水装置。本实用新型要解决的技术问题是提供一种劳动强度低、操作方便、工作效率高的作物种植精密喷水装置。为了解决上述技术问题,本实用新型提供了这样一种作物种植精密喷水装置,包括有左支架、左轴承座、丝杆、顶支架、右轴承座、电机Ⅱ、右支架、植物、螺母、滑块、滑轨、缸体、支杆、电机Ⅰ、齿轮、齿条、气缸、活塞、注射器、针头、出水管、电控阀和水箱,地面上种植有植物,地面左边设有左支架,地面右边设有右支架,左支架和右支架顶端设有顶支架,顶支架上从左至右依次设有左轴承座、右轴承座、电机Ⅱ和水箱。本实用新型达到了劳动强度低、操作方便、工作效率高的效果。

一种空气能热泵采暖散热器

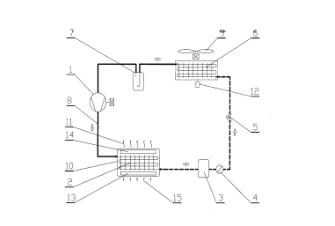
一种空气能热泵采暖散热器,由压缩机、散热片、储液器、过滤器、膨胀阀、蒸发器、气液分离器、金属导管、风机,防护罩组成;采暖散热器利用空气能热泵制热原理,压缩后的高温介质通过管道送到采暖房间的散热片,散热片内采用制冷剂介质作为直接传热载体,采暖房间较冷空气经过散热片防护罩下部进气口,(科技成果评价)散热片外表面与下部进气口较冷空气进行自然对流换热,利用空气密度差形成自然流动,加热后热空气经散热片上部出气口流到采暖房间,空气在房间自然循环,使房间升温在一个稳定温度场状态,提供人体自然风感的舒适环境,并达到房间采暖目的。

一种循环式高空水果采摘工具

本发明公开了一种循环式高空水果采摘工具,包括有顶杆与底杆对接组成的主杆,所述顶杆的顶部设有第一滑轮,所述底杆的底部为手柄,所述底杆的中部开设有凹槽,所述凹槽内设有第二滑轮,所述第一滑轮与第二滑轮通过绳索传动,所述主杆的两侧对应设有滑轨,两个所述滑轨内分别设有固定在绳索上的滑块,两个所述滑块分别设置在两个所述滑轨的最高点与最低点,所述滑块上固定设有采摘装置。(科技成果评价)本实用新型的采摘工具,具有倾斜角的刀具,能够准确的将水果连接处隔断,确保不伤害到水果,采用自循环的作业工具,利用水果的自重,将采摘的水果通过滑轮组件下降,免去将采摘工具放平的环节,另一侧上升的刀具继续工作,提高工作效率。

一种练车场倒车入库专用提醒装置

本实用新型涉及一种提醒装置,尤其涉及一种练车场倒车入库专用提醒装置。本实用新型要解决的技术问题是提供一种提醒效果好、提醒装置能灵活使用、能防止车库内设施受损的练车场倒车入库专用提醒装置。为了解决上述技术问题,本实用新型提供了这样一种练车场倒车入库专用提醒装置,包括有警报灯Ⅰ、弹簧Ⅰ、压板Ⅰ、行程开关Ⅰ、弹簧Ⅱ、压板Ⅱ、行程开关Ⅱ、固定板、挡板、弹簧Ⅲ、滑轨、铜锣Ⅰ、铁块、连接杆Ⅱ、滑块、齿条、齿轮、减速电机、连接杆Ⅰ、铜锣Ⅱ和警报灯Ⅱ,车库左侧设有警报灯Ⅰ,车库地面中间设有槽Ⅰ和槽Ⅱ,槽Ⅰ设在槽Ⅱ的左侧。本实用新型达到了提醒效果好、提醒装置能灵活使用并且能防止车库内设施受损的效果。